Forte Lighting 2747-01 Handleiding
Forte Lighting Verlichting 2747-01
Bekijk gratis de handleiding van Forte Lighting 2747-01 (2 pagina’s), behorend tot de categorie Verlichting. Deze gids werd als nuttig beoordeeld door 7 mensen en kreeg gemiddeld 4.8 sterren uit 6 reviews. Heb je een vraag over Forte Lighting 2747-01 of wil je andere gebruikers van dit product iets vragen? Stel een vraag
Pagina 1/2

Page 1 of 2
INSTALLATION INSTRUCTIONS
Model# 2747-01
1 LIGHT PENDANT
! Warnings and Cautions
Turn off electricity at circuit breaker or main fuse box before installation. Consult a licensed electrician if you are
in doubt.
These instructions are provided for your safety. It is very important you read them completely before installing
fixture. We strongly recommend that a licensed, professional electrician perform the installation.
Turn off the fixture at the switch before replacing the bulbs.
- Make sure bulbs are given sufficient time to cool before removal.
- Do not subject glass parts to any shock while in operation or shattering may result.
Tools Required (Not Included): Flathead screwdriver, Phillips screwdriver, Wire cutters, Electrical tape, Safety
goggles, Ladder.
Helpful Tools (not included): Wire strippers.
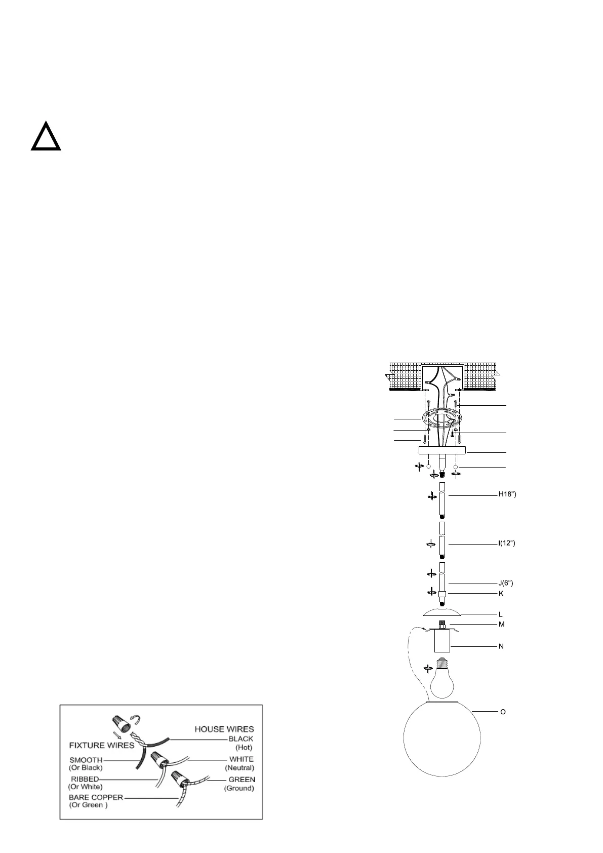
ASSEMBLY INSTRUCTIONS
1.Carefully unpack and lay all parts on a clean, level
surface. Do not discard any contents until after
assembly is complete to avoid accidentally
discarding small parts or hardware.
2.Unscrew the pre-assembledlocking ball nut(G) from
the mounting bracket (B). Attach the mounting
bracket (B) to the junction box (not included) with
the junction box screws (D).
3.Determine which rods (J/I/H) you want to be
assembled to the socket assembly (M) according to
your desired hanging height. Feed the supply wires
and ground wire through the assembled 6 inch
rod(s) and 12 inch rod (s) or18 inch rod and
through the ceiling canopy (F).until there is no slack
in the wires Hand tighten the rods (J/I/H) to the
ceiling canopy (F) until snug.
4.Lift the canopy (F) toward the ceiling, and pull any
excess wire up through the canopy (F).
A
E
D
C
G
B
F
Product specificaties
| Merk: | Forte Lighting |
| Categorie: | Verlichting |
| Model: | 2747-01 |
Heb je hulp nodig?
Als je hulp nodig hebt met Forte Lighting 2747-01 stel dan hieronder een vraag en andere gebruikers zullen je antwoorden
Handleiding Verlichting Forte Lighting
9 Februari 2026
30 December 2026
29 December 2026
29 December 2026
28 December 2025
28 December 2025
28 December 2025
28 December 2025
28 December 2025
28 December 2025
Handleiding Verlichting
Nieuwste handleidingen voor Verlichting
10 Februari 2026
10 Februari 2026
10 Februari 2026
10 Februari 2026
10 Februari 2026
10 Februari 2026
10 Februari 2026
10 Februari 2026
10 Februari 2026
10 Februari 2026