Dnt BioAccess PRO Handleiding
Dnt Niet gecategoriseerd BioAccess PRO
Bekijk gratis de handleiding van Dnt BioAccess PRO (12 pagina’s), behorend tot de categorie Niet gecategoriseerd. Deze gids werd als nuttig beoordeeld door 18 mensen en kreeg gemiddeld 4.8 sterren uit 5 reviews. Heb je een vraag over Dnt BioAccess PRO of wil je andere gebruikers van dit product iets vragen? Stel een vraag
Pagina 1/12

1. Funktion
Das Fingerprint-Codeschloss BioAccess PRO ermöglicht den einfachen Zugang über das
biometrische Zugangsmerkmal „Fingerabdruck“ sowie per RFID-Transponder und Ziffern-
code. Zur erhöhten Zugangssicherheit können mehrere Zugangsarten kombiniert werden.
Das wetterfeste und vandalismussichere Gerät kann bis zu 1000 Zugänge verwalten. Über
ein 26/44-Bit-Wiegand-Interface ist eine besonders sichere Datenübertragung/Steuerung per
externem Wiegand-Controller möglich. Das Gerät kann mit Wiegand-Controllern interagieren,
selbst als Wiegand-Controller oder als Stand-alone-Gerät arbeiten.
• Robustes, wetterfestes (IP66) und vandalismussicheres Fingerprint-Codeschloss
• Kapazitiver Fingerprint-Sensor, Touch-Tastenfeld
• EM-RFID-Zugang (125 kHz) und Mifare-RFID-Zugang (13,56 MHz)
• Zifferncode-Zugang mit 4 bis 6 Ziffern, Eingabefeld hinterleuchtet,
mit automatischer Abschaltung nach 20 s
• Für bis zu 1000 Zugänge (100 Fingerprint + 888 RFID/PIN + 2x Panikcode + 10 Besucher)
• Ein programmierbarer Relais-Schaltausgang, potentialfrei
• 26/44-Bit-Wiegand-Interface, Mifare: 56/58 Bit Ein-/Ausgang,
Zugangsdatenverwaltung im Wiegand-Controller
• Stand-alone-Betrieb oder Interlock-Betrieb für 2 Türen möglich
• Latch-Mode (selbsthaltender Betrieb für Tür-Offenhalten) verfügbar
• Türkontakt-Überwachung
• Türoffner-Taster-Eingang (Exit-Button) zur Türöffner-Ansteuerung von innen
• Fail-Secure-Schloss- oder Fail-Safe-Schloss-Betrieb
• Zugang per Fingerprint, RFID, Zifferncode oder kombiniert möglich
• Sabotagesensor gegen Demontage/Manipulation
• Mehrfarbige Statusanzeige
• Interner Signalgeber und externer Signalausgang
3. Betriebs-, Wartungs- und Sicherheitshinweise
Bitte lesen Sie diese Bedienungsanleitung vor der Installation und Inbetriebnahme komplett durch
und bewahren Sie die Bedienungsanleitung für späteres Nachlesen auf. Wenn Sie das Gerät anderen
Personen zur Nutzung überlassen, übergeben Sie auch diese Bedienungsanleitung.
Das BioAccess PRO ist für den Einsatz als allgemeines Zugangskontrollgerät vorgesehen.
Es ist für den Außeneinsatz (IP66) zugelassen.
Für Folgeschäden, die aus Nichtbeachtung dieser Gebrauchsregeln und der Bedienungsan-
leitung resultieren, übernehmen wir keine Haftung, Gewährleistungsansprüche erlöschen
ebenfalls. Dies gilt auch für Umbauten und Veränderungen.
Lieferumfang:
• Fingerprint-Codeschloss BioAccess PRO
• Schutzdiode IN4004
• 2x Wanddübel und Montageschrauben (4x 25 mm)
• Montageschlüssel
• Bedienungsanleitung
• RFID-Mastercard
2. Bestimmungsgemäßer Einsatz, Lieferumfang
Warnung
Wird verwendet, um Sicherheitshinweise zu kennzeichnen oder um Aufmerk-
samkeit auf besondere Gefahren und Risiken zu lenken.
Hinweis
Wird verwendet, um zusätzliche Informationen oder wichtige Hinweise zu
kennzeichnen.
• Aus Sicherheits- und Zulassungsgründen (CE) ist das eigenmächtige Umbauen
und/oder Verändern des Produkts nicht gestattet.
• Setzen Sie das Gerät keinem Einfluss von Feuchtigkeit über die IP66-Bedingungen
hinaus aus – keinen Vibrationen, keiner ständiger Wärmeeinstrahlung, extremer Kälte,
keinen starken elektromagnetischen Feldern und keinen mechanischen Belastungen.
• Beachten Sie alle Hinweise in der Bedienungsanleitung zum Anschluss von Spannungen.
Falsche oder verpolte Spannungen zerstören das Gerät.
• Lassen Sie das Verpackungsmaterial nicht achtlos liegen, Plastikfolien/-tüten,
Styroporteile, etc. könnten für Kinder zu einem gefährlichen Spielzeug werden.
• Wurde das Gerät beschädigt, nehmen Sie es außer Betrieb und wenden Sie sich an
unseren Service.
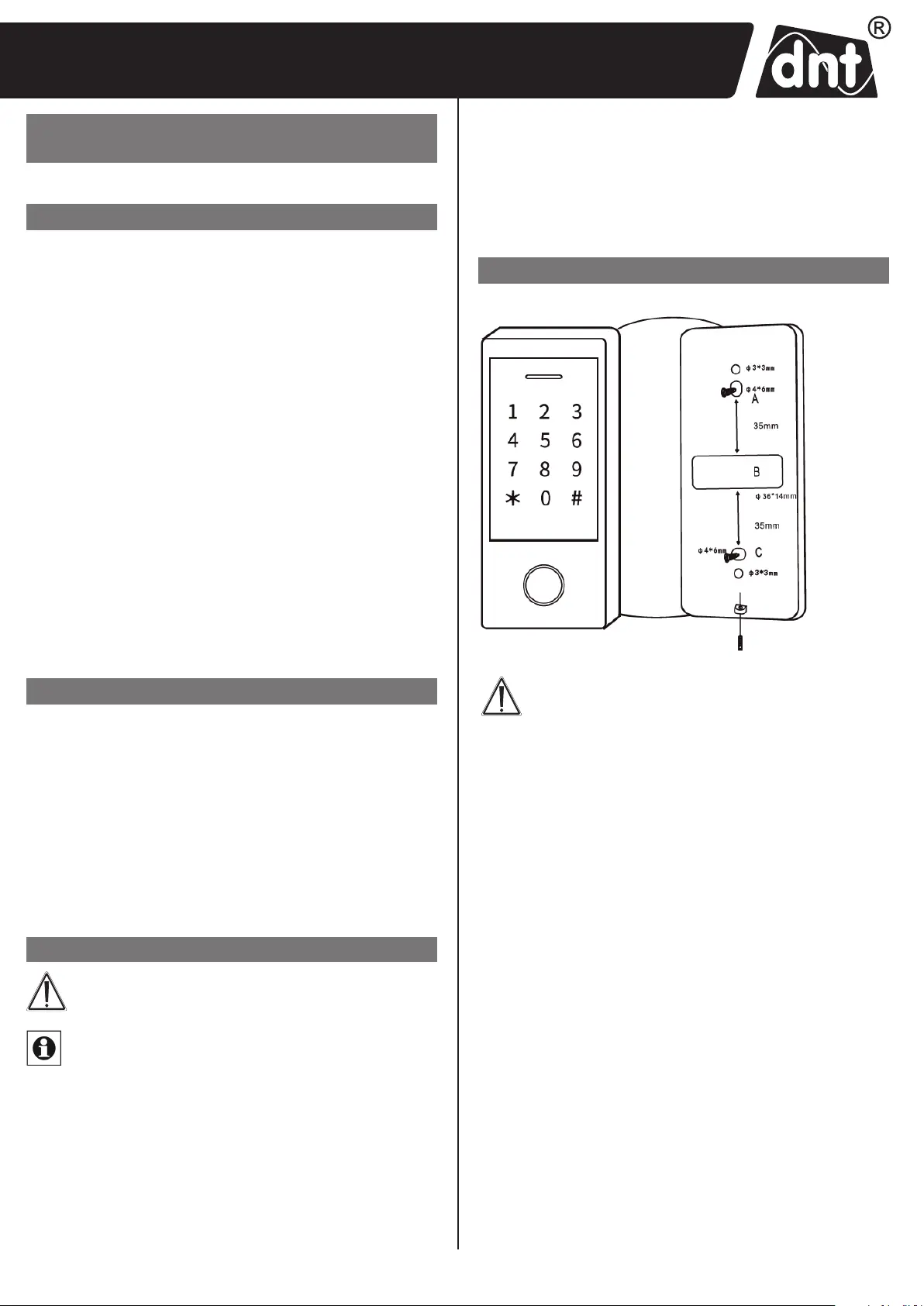
4. Installation/Montage
Bei Sach- oder Personenschäden, die durch unsachgemäße Handhabung oder Nicht-
beachten der Sicherheitshinweise und der Bedienungsanleitung verursacht werden,
übernehmen wir keine Haftung. In solchen Fällen erlischt jeder Gewährleistungsan-
spruch! Für Folgeschäden übernehmen wir keine Haftung.
Öffnen Sie das Gerät nicht, unternehmen Sie keine Reparaturversuche, nehmen Sie
keine Umbauten oder Veränderungen vor – dies führt zum Verlust des Gewährleis-
tungsanspruchs. Für Folgeschäden übernehmen wir keine Haftung.
Fingerprint-Codeschloss BioAccess PRO
Artikelnummer: DNT000013Bedienungsanleitung
Sicherungsschraube
Montageplatte
Wählen Sie den Montageort so aus, dass gewährleistet ist, dass die Mon-
tageplatte dicht, komplett und plan aufliegen kann. Anderenfalls kann
eine Sabotage erleichtert werden und es kann zu Fehlauslösungen des
Sabotagealarms durch ungewollten Lichteinfall in das Gerät kommen.
• Lösen Sie mit dem Montageschlüssel die Sicherungsschraube unten am Gehäuse und
nehmen Sie das Gerät von der Montageplatte ab.
• Zeichnen Sie anhand der Löcher in der Montageplatte bzw. der Skizze oben die Bohrlöcher
auf der Montagefläche (Wand) an und bohren Sie die Montagelöcher/Kabeldurchführung
(Vorher sollte natürlich kontrolliert werden, dass keine Leitungen oder Rohre in der Wand
verlaufen).Die 3-mm-Löcher sind als zusätzliche Sicherung für die mögliche Befestigung
auf z. B. einer Metallplatte mit Gewindeschrauben gedacht.Bei Nichtbenutzung mit einem
Dichtmittel verschließen.
• Führen Sie das Verbindungskabel durch die Wand und verschrauben Sie die Montageplatte
an der Wand.
• Setzen Sie das Gerät auf die Montageplatte (zuerst oben einsetzen, dann unten Richtung
Montagplatte schwenken) und sichern Sie es mit der Sicherungsschraube.
Anschlussbelegung
Adernfarbe Funktion Bemerkungen
Rot Ub Betriebsspannung, 12–28 V
AC/DC, DC = Plus
Schwarz Ub Betriebsspannung, 12–28 VAC/DC, DC = Minus
Pink GND Masseleitung, siehe Hinweise im Text
Blau Relais, NO Relaiskontakt, im Ruhezustand offen gegen COM
Violett Relais, COM Relaiskontakt, Mittelkontakt
Orange Relais, NC Relaiskontakt, im Ruhezustand geschlossen gegen COM
Gelb OPEN Eingang für Türöffnertaste im Gebäude
Grün Data 0 Wiegand-Interface, Leitung Data 0
Weiß Data 1 Wiegand-Interface, Leitung Data 1
Grau Alarmausgang Alarmausgang für Signalgeber, gegen Minus geschaltet
Braun Türkontakt Eingang für Türkontaktüberwachung, NC
Product specificaties
| Merk: | Dnt |
| Categorie: | Niet gecategoriseerd |
| Model: | BioAccess PRO |
Heb je hulp nodig?
Als je hulp nodig hebt met Dnt BioAccess PRO stel dan hieronder een vraag en andere gebruikers zullen je antwoorden
Handleiding Niet gecategoriseerd Dnt
20 September 2023
20 September 2023
20 September 2023
20 September 2023
20 September 2023
20 September 2023
20 September 2023
20 September 2023
27 Januari 2023
Handleiding Niet gecategoriseerd
Nieuwste handleidingen voor Niet gecategoriseerd
29 Januari 2026
29 Januari 2026
29 Januari 2026
29 Januari 2026
29 Januari 2026
29 Januari 2026
29 Januari 2026
29 Januari 2026
29 Januari 2026
29 Januari 2026