Sudokoo MACH140 Handleiding
Sudokoo Hardwarekoeling MACH140
Bekijk gratis de handleiding van Sudokoo MACH140 (2 pagina’s), behorend tot de categorie Hardwarekoeling. Deze gids werd als nuttig beoordeeld door 4 mensen en kreeg gemiddeld 4.4 sterren uit 3 reviews. Heb je een vraag over Sudokoo MACH140 of wil je andere gebruikers van dit product iets vragen? Stel een vraag
Pagina 1/2

Product specificaties
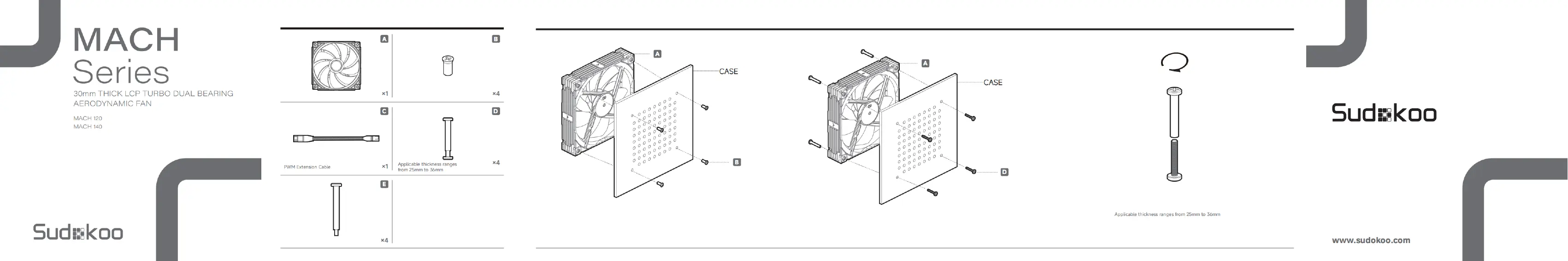
| Merk: | Sudokoo |
| Categorie: | Hardwarekoeling |
| Model: | MACH140 |
Heb je hulp nodig?
Als je hulp nodig hebt met Sudokoo MACH140 stel dan hieronder een vraag en andere gebruikers zullen je antwoorden
Handleiding Hardwarekoeling Sudokoo
24 Maart 2026
23 Maart 2026
Handleiding Hardwarekoeling
Nieuwste handleidingen voor Hardwarekoeling
21 Maart 2026
21 Maart 2026
20 Maart 2026
20 Maart 2026
13 Maart 2026
13 Maart 2026
13 Maart 2026
13 Maart 2026
13 Maart 2026
13 Maart 2026