JET ECPA-10 Handleiding
JET Niet gecategoriseerd ECPA-10
Bekijk gratis de handleiding van JET ECPA-10 (4 pagina’s), behorend tot de categorie Niet gecategoriseerd. Deze gids werd als nuttig beoordeeld door 19 mensen en kreeg gemiddeld 4.0 sterren uit 6 reviews. Heb je een vraag over JET ECPA-10 of wil je andere gebruikers van dit product iets vragen? Stel een vraag
Pagina 1/4

Model No. : ECPA-10
PUMP SPEC:
Stock No. : 660125
1/8HP,60HZ,230V only, 1Ph
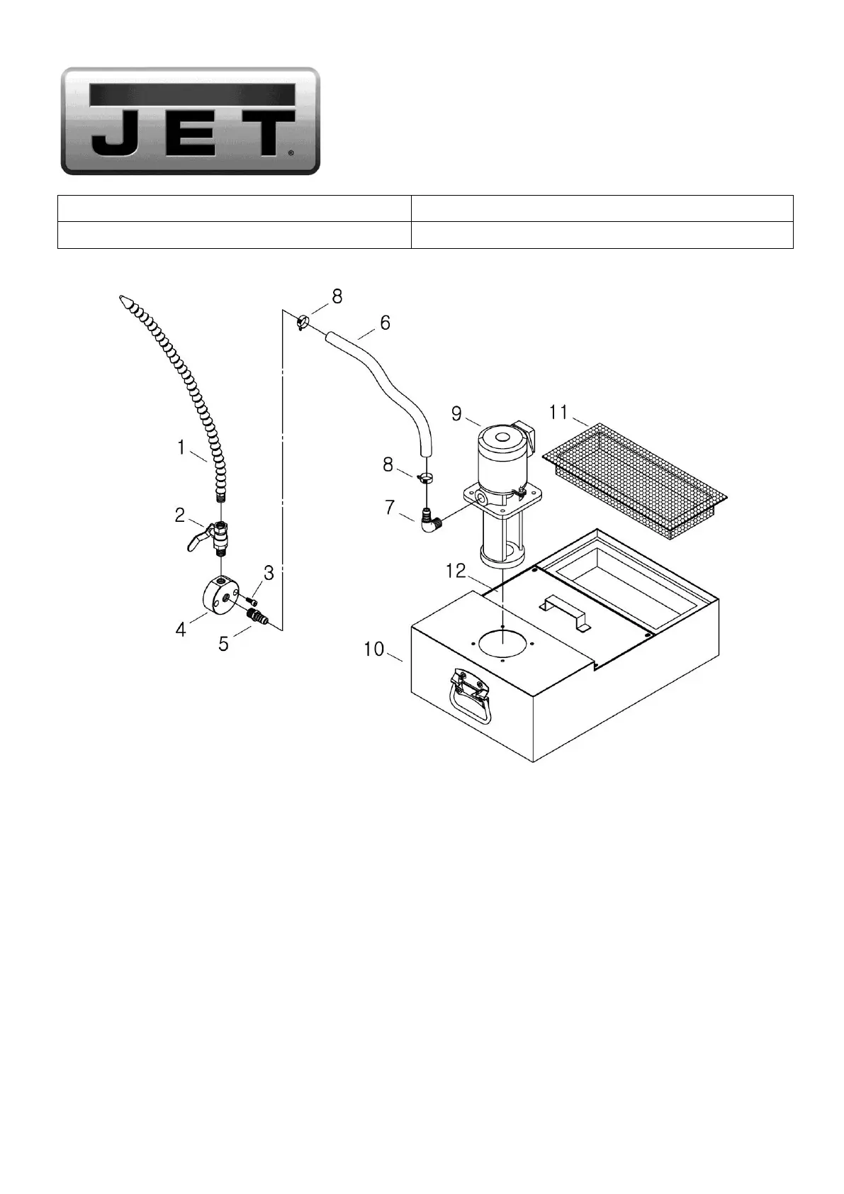
Parts List for External Coolant Pump Assembly
Index Part
No. No. Description Size Q’ty
1 .................JTM949EVS-G01 ......Plastic Nozzle .......................................................... ......................................1
2 .................JTM949EVS-G02 ......Valve ........................................................................PT 3/8" x 1/2" ................1
3 .................TS-1503091 ...............Hex Socket Cap Screw ............................................M6 x 40 ......................... 2
4 .................JTM949EVS-G04 ......Block ........................................................................ ......................................1
5 .................JTM949EVS-G05 ......Hose Fitting ..............................................................PT 3/8" x 1/2" ................1
6 .................JTM949EVS-G06 ......Hose .........................................................................1/2"................................1
7 .................JTM949EVS-G07 ......Hose Fitting ..............................................................PT 3/8" x 1/2" (90°) ....... 1
8 .................JTM949EVS-G08 ......Hose Clamp .............................................................5/6" (11 ~ 20) ................ 2
9 .................JTM949EVS-G09 ......Coolant Pump ..........................................................1/8HP/230V/1ph ............1
10...............JTM949EVS-G10 ......External Coolant Tank ............................................. ......................................1
11 ...............JTM949EVS-G11 ......Strainer .................................................................... ......................................1
12 ...............JTM949EVS-G12 ......Cover with Handle .................................................... ......................................1
External Coolant Pump Assembly
Product specificaties
| Merk: | JET |
| Categorie: | Niet gecategoriseerd |
| Model: | ECPA-10 |
Heb je hulp nodig?
Als je hulp nodig hebt met JET ECPA-10 stel dan hieronder een vraag en andere gebruikers zullen je antwoorden
Handleiding Niet gecategoriseerd JET
6 Maart 2026
6 Maart 2026
4 Maart 2026
31 December 2026
31 December 2026
30 December 2026
30 December 2026
29 December 2026
29 December 2026
29 December 2026
Handleiding Niet gecategoriseerd
Nieuwste handleidingen voor Niet gecategoriseerd
1 April 2026
1 April 2026
1 April 2026
1 April 2026
1 April 2026
1 April 2026
1 April 2026
1 April 2026
1 April 2026
1 April 2026